Sydneysider
New Member
This forum rocks!

SBP shift kit installed on one Jag and another kit for my grocery getter in the mail. The stiletto is still a work in progress but is ONE SWEET RIDE! 
Hi Guys,
Just joined up, thought i would say Hi
Hi Guys,
Just joined up, thought i would say Hi
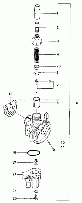
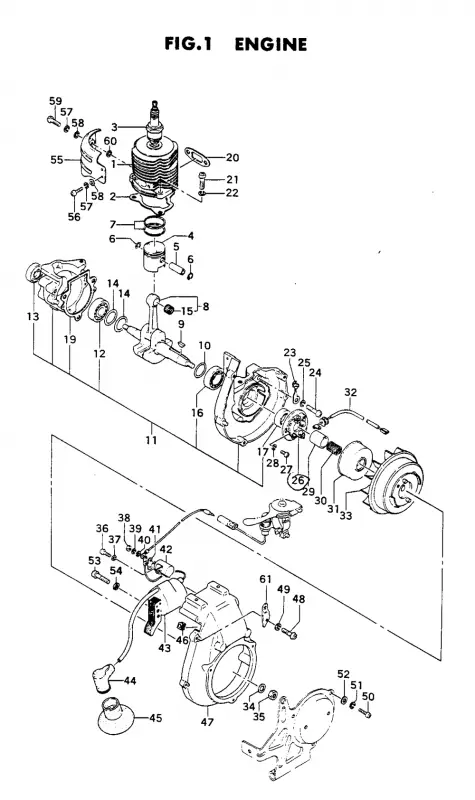
Ok Mr Noob - I just picked up a Tanaka QBM-23N engine. All the fuel and vent lines are missing. I'm legally blind, so it's more challenging. How do the fuel and vent lines get routed? My engine has a square cover. I'm a "noobie" as well. Let me know, ok?Hey everyone, Noob here. Yep another "Buckeye" from O-hi-O ! I'm down here around the Gallipolis area with "Mothman" and I call myself an "Appalachian American".
What brings me here is I'm finally going to try to set an old Tas QBM-23N I've had laying around in the box on a bike I fixed up like a Schwinn Suburban.
When I purchased the motor the fellow had removed it from his kid bike realizing he just wasn't safe on it and thought he'd act fast before real trouble
broke out. What I got was the motor unit. The small bracket that goes on the base of the right fork is missing, the muffler, the throttle/killswitch, and the inside securing brackets to bolt the engine fast to the fork tubes. I figure I can fabricate some of the stuff myself. I've had the motor awhile but the Info Superhighway was still a two lane dirt road back when I got the little Tas. Recently.....ya know it.....$4.00+ gas got me thinking about the project again. It could be a shot at doing alot of my local errands at 200+ mpg.
I found the "Acrobat" parts list download and images today on the Tanaka site. In the past I couldn't find much info on it but gas was like a dollar a gallon back then.
What I'd like to find is the point's and plug gap's & Carb needle settings and what other info applies. This motor is probably not even broken in yet. I figure from the way the guy I purchased it from talked, he made his kid think someone stold the motor rather than telling him he just wasn't ready for it. All he told me was his kid wasn't old enough and soon lost interest in it to baseball. But I figured he was on the level cause he owned the bicycle shop where I purchased it.
So, that's about me and my motorizedbike project.
Would love to hear from any other Tas QBM-23N owners, past owners, and those with any experience with one.
I did? Well that's part of being sight challenged. A lot of things get by me. But I'm still stuck with the same problem. So solutions are what I need.You posted on a thread that hasn't had a response since 2010.
You should start your own threadI did? Well that's part of being sight challenged. A lot of things get by me. But I'm still stuck with the same problem. So solutions are what I need.
A lot of respect to you sir for still being on the road legal blind...I did? Well that's part of being sight challenged. A lot of things get by me. But I'm still stuck with the same problem. So solutions are what I need.
So F'n what Jerry help a brother outYou should start your own thread
This is what I found hope it helps youOk Mr Noob - I just picked up a Tanaka QBM-23N engine. All the fuel and vent lines are missing. I'm legally blind, so it's more challenging. How do the fuel and vent lines get routed? My engine has a square cover. I'm a "noobie" as well. Let me know, ok?
Thanks to all who have sent suggestions. And believe me, I crashed more times than I can count when I first lost my sight and was just learning to simply balance a bike. No worries...I took the motor off the bike and I'm going for broke. I'm gonna fix this sucker even if it kills me. Again, thanks to allA lot of respect to you sir for still being on the road legal blind...
You should recognize what help looks like. I am helping by teaching a newbie the correct way to use this forum.So F'n what Jerry help a brother out
And I appreciate that Mr. Jerry. When you mentioned in a reply that I should start my own thread I had no idea what you were talking about, much less how to do it. So ANYTHING you can help me learn is greatly appreciated. THANK YOU! And for the record, my name is Jim and I live in Wisconsin.You should recognize what help looks like. I am helping by teaching a newbie the correct way to use this forum.
Revival of an old thread does a few things 1) it dusts off some of the older members with notifications to get there attention and 2) it helps a new guy to explain his problem 3) there is no rule that says not to reply to an old thread... I read the old threads to see where the ideas and tech comes from how it came about and evolved... Mabe as an experiment we could delete all the threads 30 days old and you can answer every question ever askedYou should recognize what help looks like. I am helping by teaching a newbie the correct way to use this forum.
